Разбрасыватель органических удобрений рун-15 |
Применен
для разделения компоста и навоза по поверхности поля. Метод действия -
валкообразователь формирует валок из предварительно разложенных на
удобряемом поле куч навоза и компостов, лопасти ротора разбрасывают
содержимое валка по поверхности поля. Привод действующих органов
реализуется от ВОМ трактора.
Разбрасыватель РУН-15Б Предназначают для поверхностного внесения органических удобрений.
МАШИНЫ ДЛЯ ВНЕСЕНИЯ ТВЕРДЫХ ОРГАНИЧЕСКИХ УДОБРЕНИЙ
Разбрасыватель РУН-15Б
распределяет
органические удобрения из куч, размещенных на поле рядами в шахматном
порядке. РУН-15Б навешивают на гусеничные тракторы тягового класса 3. На
механизм передней навески трактора монтируют валко-образователь, задней
навески — разбрасыватель. Валко-образователь и разбрасыватель переводят
в рабочее и транспортное положение гидроцилиндрами.
Валкообразователь,
состоящий из двух отвалов, опирается на катки 2, регулируемые по
высоте. Между отвалами в месте их сближения выполнено окно с заслонками.
Ширину и высоту окна регулируют перемещением горизонтальных и
вертикальных заслонок. Над окном расположен толкатель, совершающий
возвратно-поступательные движения от гидропривода.
Разбрасыватель
состоит из рамы, опирающейся на колеса, двух лопастных роторов 3,
делителя и механизма привода роторов от ВОМ трактора. Частоту вращения
роторов регулируют, заменяя звездочки на валах, а высоту расположения их
над поверхностью поля — с помощью опорных катков.
При
движении агрегата вдоль ряда куч валкообразователь захватывает и
перемещает их перед собой. Наконечник толкателя периодически входит в
дозирующее окно, разрушает заторы и проталкивает в него удобрения,
которые вытягиваются в непрерывный валок под трактором. Делитель
разбрасывателя разрезает валок на две части. Лемехи поднимают их и
подводят к* роторам. Лопасти роторов захватывают, измельчают и швыряют
удобрения в обе стороны. Дозу внесения регулируют, изменяя расстояние
между кучами в рядке и их массу.

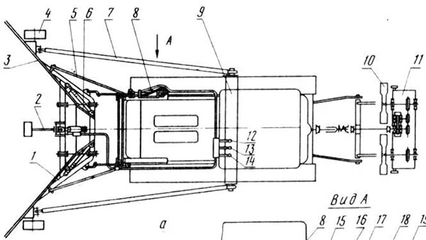
Рис. Разбрасыватель РУН-15Б:
1 — боковина валкообразователя; 2 — каток; 3— лопастный ротор разбрасывателя; 4 — BOM трактора; 5 — трактор
Для
раскладки куч поле предварительно размечают, принимая расстояние между
рядами 25...30 м, а между кучами в рядке — L. Таким способом вносят от
15 до 60 т навоза на 1 га. Рабочая скорость агрегата 3...7,5 км/ч.
Разбрасыватели
удобрений из куч. В хозяйствах работают разбрасыватели РУН-15А, которые
навешиваются на тракторы ДТ-75, и выпускаются машины РУН-15Б,
работающие в агрегате с тракторами Т-150, Т-74, ДТ-75 и ДТ-75М. Рабочая
ширина разбрасывателя до 20 м. Разбрасыватель РУН-15А состоит из
следующих основных узлов: валкообразователя, активного рабочего органа,
механизма подъема валкообразователя, роторного разбрасывателя и системы
передач. Валко-образователь навешивается спереди трактора и состоит из
двух боковых и задней стенок. Навеска валкообразователя аналогична
бульдозерной. Боковые стенки при работе опираются на катки. В задней
стенке имеется дозирующее окно, размер которого, а следовательно, и
форму валка можно регулировать заслонками.
Удобрения
в дозирующее окно подаются активным рабочим органом, который состоит из
двуплечего рычага, на одном конце которого имеется толкатель, а на
другой конец действует гидроцилиндр с золотниковым приводом. Толкатель,
совершая колебательное движение, разбивает крупные комки удобрений и
способствует образованию непрерывного валка.

Рис. Общий вид и схема разбрасывателя РУН-15А: а — общий вид; б — схема (вид сверху); 1 — валкообразователь; 2 — толкатель; 3 — разбрасыватель.
Сзади
трактора на навесном устройстве установлен роторный разбрасыватель,
состоящий из двух роторов и двух опорных катков. Роторы приводятся в
действие от вала отбора мощности трактора через карданный вал с
предохранительной муфтой, одноступенчатый редуктор и две цепные
передачи. Роторы вращаются с частотой 267 об/мин и разбрасывают валок
удобрений по обеим сторонам трактора. Расстояние между рядами куч должно
быть равно ширине разбрасывания удобрений (15— 20 м). Расстояние между
кучами в ряду зависит от размеров куч, от нормы внесения удобрений и
составляет 30—50 м.
Разбрасыватель
РУН-15А может применяться для растаскивания удобрений из буртов в кучи.
При этом дозирующее окно закрывают, а разбрасывающее устройство
поднимают и машина переоборудуется в бульдозер. Валкообразователь,
переоборудованный в бульдозер, можно использовать для погрузки удобрений
в транспортные средства.
Машины
для внесения органических удобрений Рун 15б - это инновационное
оборудование, разработанное специально для эффективного внесения
органических удобрений на земельные участки. Она позволяет сократить
трудозатраты и увеличить урожайность, обеспечивая оптимальное
использование удобрений.
Один
из главных преимуществ машин Рун 15б - это высокое качество и
надёжность. Каждая деталь и компонент оборудования проходят строгий
контроль качества, что гарантирует его долговечность и надёжность в
работе. Технологии производства машин Рун 15б отвечают всем современным
стандартам и требованиям.
Еще
одним важным преимуществом машин Рун 15б является их эффективность.
Благодаря специальной конструкции и применению передовых технологий,
оборудование обеспечивает равномерное распределение удобрений по всей
площади участка. Это позволяет достичь максимальной питательности почвы и
обеспечивает высокий урожай.
Машины
Рун 15б представляют собой незаменимое оборудование для современного
земледелия. Это высококачественные машины, которые позволяют сэкономить
время, силы и ресурсы, и одновременно обеспечить эффективное
использование органических удобрений. Неотъемлемой частью современной
аграрной индустрии, машины Рун 15б обеспечивают максимальную
эффективность работы и помогают достичь высоких результатов в
земледелии.
Машины для внесения органических удобрений Рун 15б
Преимущества использования машин для внесения органических удобрений Рун 15б:
-
Высокое качество и надежность оборудования.
-
Точное распределение удобрений.
-
Равномерное покрытие полей.
-
Улучшение качества почвы и повышение урожайности.
-
Экономия времени и ресурсов.
Машины для внесения органических удобрений Рун 15б - это надежное оборудование, которое позволяет сельскохозяйственным предприятиям сэкономить время и ресурсы, повысить урожайность и улучшить качество сельскохозяйственных культур. Благодаря возможности точного и равномерного распределения удобрений, эти машины становятся незаменимым помощником для эффективного земледелия.
Высококачественное оборудование для эффективного земледелия
Одной из важных задач в сельском хозяйстве является внесение органических удобрений, которые позволяют улучшить плодородие почвы и повысить урожайность. Для этой цели идеально подходят машины для внесения органических удобрений Рун 15б.
Машины Рун 15б - это высококачественное и надежное оборудование, специально разработанное для эффективного внесения органических удобрений в почву. Они оснащены инновационными технологиями и функциями, которые позволяют достичь оптимального распределения удобрений по полю.
Преимущества машин Рун 15б:
-
Высокая производительность.
-
Равномерное и точное распределение удобрений.
-
Удобное и простое управление.
-
Минимальное потребление топлива.
-
Долговечность и надежность.
















Бу навозоразбрасыватели (распределители органики)
Agrams
- Agric - Agrimat - Agromet - Agrostroj Pelhrimov - Alein - Amelineau -
Annaburger - Annovi - Armor Industrie - Auran - Avto - Baroin -
Bergmann - Berthier - Bicchi - Bonneau Trichet - Bossini - Bridone -
Brimont - Brochard - Buchet - Cargo - Carrat - Caudriller - Cema -
Challenger - Compar - Corne - Cortés - Coutand - Crosetto - Danel -
Dangreville - Deguillaume - Delaplace - Delta - Devès - Douce - Duchesne
- Erme - Europa - Fabrication artisanale - Fortschritt - Fristein -
Galucho - Gili - Gilibert - Gilles - Godfroid - Goyer - Grazioli -
Grignon - Gyrax - H. Garcia - Hauswirth - Hawe - Heywang - Hubière - IH -
Ipacol - Jeantil - Jeulin - JF - Jocquin - Joskin - Kemper - Kirchner -
Knapick - Krone - Kuhn - L'Artesienne - L’ideal - La Campagne - Lambert
- Le Boulch - Lebis - Leboulch - Legrand - Lochmann - Lucas - Maitre -
MAM - Marzasa - Mengele - Metallic - Miro - Mistral - Mouzon - Mutti -
Nicolas - O.M.F.S. - Orenge - Panien - Pequea - Perard - Promodis -
Randazzo - Record - REM - Ren mark - Renoult - Richard Western - Rigual -
Rivière Casalis - Roche - Rock - Rolland - Rur 55 - Sab - Sac - Samas -
Samson - Scobel - Siam - Silver Car - Simonneau - Sodimac - Strautmann -
Supertino - Tartarin - Tebbe - Terra Gator - Terrmacch - Tolalsa -
Toutacier - Tractomotor - Unia - Unsinn - Vaschieri - VF - Vigneron -
Warfama - Welger - РОУ-6
Бу цистерны – бочки для жидкого навоза (навозной жижи)
Abbey
- Adurante - Agrex - Agrimat - Agudo - Albert - Alessi - Annaburger -
Armor - Auran - Bauer - Beguer - Benken - Bergmann - Bicchi - Bossini -
Briri - Brochard - Bruns - Brusaferri - BSA - Camara - Carruxo - Cema -
Comero - Compar - Corne - Crosetto - De Zwaef - Demarest - Desmares -
Dewa - Dome - Duchesne - Eckart - Eisele - Fiorentini - Fliegl -
Fortschritt - FTS - Fuchs - Galagri - Galli - Garant - Gili - Godimat -
Grazioli - Heywang - Jeantil - Jeulin - Joba - Joskin - Kaweco - Kotte -
La Campagne - Lecomte - Marchner - Mauguin - Meprozet - Metaljet -
Meyer-Lohne - Minoia - Miro - Muttiadolfo - NC Engineering - Negrizzolo -
Peecon - Pichon - Pomot - Promodis - Record - Rigual - Roelama - Ruscon
- Sac - Samas - Samson - Sandri - Santamaría - Schuitemaker - Seta -
Siegperle - Sodimac - Streumix - Talleres Rodriguez - Terra Gator -
Tonalis - Tractomotor - Vaia - Valzelli - Veenhuis - Vendrame -
Vogelsang - Wienhoff - Wuko - Zunhammer
Утилизация
отходов животноводства, животноводство, внесение навозной жижи,
навозоразбрасыватели, мясное скотоводство, Молочное животноводство,
свиноводство, striptill, аппликатор для навозной жижи, инжектор для
внутрипочвенного внесения жидкого навоза, EversAgro, внесение жидкого
навоза, машина для внесения жидких органических удобрений, навоз как
удобрение, навоз, коневодство, козоводство, овцеводство, молочная ферма,
навозоудаление, Аппликаторы для внесения жидкого навоза, культиватор
для внесения жидкого навоза, бочка для навоза, навозная бочка, цистерна
для навозной жижи, мешалки для навозной жижи, системы навозоудаления,
Ворошитель навоза (компоста), навозоудаление, шланговые системы удаления
навоза, рун-15 навозоразбрасыватель
